Home > Altro > Archivio > Nintendo NX: novità e indiscrezioni sulla nuova console
Nintendo NX: novità e indiscrezioni sulla nuova console
mercoledì 22 giugno 2016, di
Nintendo NX: quando esce? Quali sono le novità e le indiscrezioni sulla console Nintendo?
Le svela Gameblog.Fr, blog francese di tecnologia, che ha recentemente rivelato alcune indiscrezioni su Nintendo NX, una delle console più attese del momento che Nintendo annuncia già come straordinaria e rivoluzionaria. Ecco cosa dobbiamo a spettarci da Nintendo NX.
Nintendo NX: indiscrezioni sulla data di uscita
Gameblog ha rivelato che la decisione di Nintendo era quella di lanciare sul mercato Nintendo NX a partire da novembre 2016.
Sappiamo già che il lancio è stato rimandato a marzo 2017 e questa decisione è dovuta alla volontà di Nintendo di lasciare ancora del tempo a Capcom e Square-Enix, partner della casa di Kyoto, che stanno lavorando ad interessanti progetti per la nuova console.
Il ritardo dell’uscita di Nintendo NX ha certamente deluso gli utenti, ma Nintendo promette che l’attesa varrà la novità.
Nintendo NX: antagonista della PS4 NEO
Sempre secondo indiscrezioni circolanti in rete e provenienti da Gameblog la nuova console di Nintendo sarà molto potente.
Nintendo NX sarà la vera antagonista di PS4 NEO. Sarà probabilmente legata ad un sistema Android ed avrà uno stretto legame con l’app lanciata pochi mesi fa su smartphone e iPhone Miitomo.
Probabilmente l’interfaccia di gioco potrà essere modificata secondo il gusto personale dell’utente.
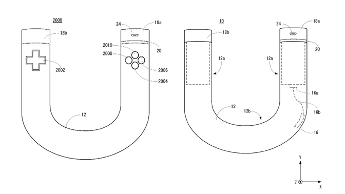
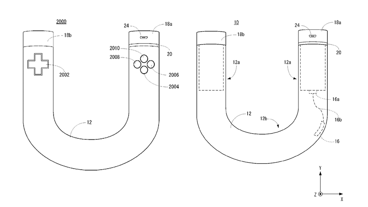
Nintendo NX:controller a forma di ferro di cavallo?
Sono abbastanza sicure le notizie riguardo il nuovo controller di Nintendo NX.
L’innovativo dispositivo avrà la forma di un ferro di cavallo e diverse caratteristiche particolarmente interessanti. Sarà dotato di:
- accelerometro;
- girometro;
- sensore per il rilevamento della temperatura.
Si tratterà con molta probabilità di un accessorio per l’allenamento.
Nintendo NX: quanto costa?
Stando alle indiscrezioni, Nintendo starebbe tentando di mantenere i prezzi della console quanto più possibile bassi rispetto alle console concorrenti.
Nintendo NX avrà probabilmente un prezzo allettante ed accessibile, ma ancora non è nota alcuna indicazione in merito.
Nintendo NX: con quali giochi verrà proposta?
L’unico gioco al momento certo e annunciato dalla stessa Nintendo in occasione dell’E3 2016 è The Legend of Zelda Breath of Wild, che uscirà insieme alla console a marzo 2017.
Nintendo starebbe comunque lavorando a numerosi remastered di vecchi giochi per Nintendo NX, tra le indiscrezioni Zelda Skyward Sword, Smash Bros e Mario Kart 8.
Tra le indiscrezioni anche la possibile presentazione di un nuovo gioco di Mario che si prevede però in occasione dell’E3 2017, quindi nel mese di giugno.
Non vi sono ancora state conferme da parte di Nintendo, scopriremo presto se le indiscrezioni hanno o meno un fondo di verità.
